NIEDAX Brandschutzplatte BSP 120.120.30
Art.Nr.: 677877
Kurzfristig lieferbar Lieferzeit: 7-14 Arbeitstage
Brandschutzplatte BSP 120.120.30
Hersteller: NIEDAX
Hersteller-Art.Nr.: BSP 120.120.30
EAN: 4013339192373
Ursprung: Deutschland
Zolltarif: 68109100
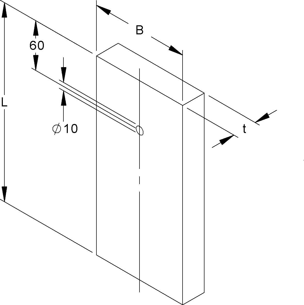
Brandschutzplatte, mit einem vorgebohrten Loch. Zur Hinterlegung des unmittelbaren Befestigungsbereichs in der Scherfuge zwischen dem Kabeltragsystem und dem tragenden Holzbauteil. Baustoffklasse A1, Feuerwiderstandsklasse F30 und F60. Europäische techn. Bewertung: Zulassungs.Nr. ETA-11/0458. Zur Verwendung im Funktionserhalt bitte Zusatzvorschriften beachten! Abmessungen (ca. Maße) L x B x t : 120 x 120 x 30 mm Lochdurchmesser : 10 mm Werkstoff : Leichtbeton, glasfaserbewehrt, zementgebunden, grau
| Merkmale: | |
| Werkstoff | Beton |
| Farbe | grau |
| Länge | 120 mm |
| Breite | 120 mm |
| Stärke | 30 mm |
| Durchmesser | 10 mm |
NIEDAX GmbH & Co. KG
Asbacher Str. 141
53545 Linz/Rhein
Land: DE
E-Mail: info@niedax.de
www.niedax.de
























