NIEDAX Kabeltragwannensystem KWS 1 F
Art.Nr.: 606797
Kurzfristig lieferbar Lieferzeit: 7-14 Arbeitstage
Kabeltragwannensystem KWS 1 F
Hersteller: NIEDAX
Hersteller-Art.Nr.: KWS 1 F
EAN: 4013339055548
Ursprung: Deutschland
Zolltarif: 73089059
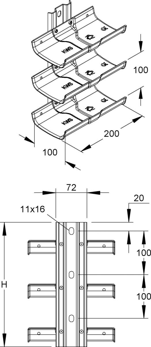
Kabeltragwannensystem, für die Wandmontage oder zur Befestigung an Schienen. In Anlehnung an die VDE 0298-565-1 und VDE 0298-565-2 sollte ein max. Stützabstand von 0,8 m nicht überschritten werden. Die Tragfähigkeitsangaben gelten nur bei ausreichender Verankerung mit dem tragenden Untergrund und wenn im Klemmbereich die Oberflächen der vertikal verlaufenden Profil-/Ankerschienen und der Wannentragschienen aus Stahl oder verzinktem Stahl sind. Ist der Klemmbereich mit einem Farbanstrich versehen, muss dieser entfernt werden, da sonst die Tragfähigkeit nicht gegeben bzw. gewährleistet ist. Gefahr des Abrutschens! 1. Das Kabeltragwannensystem in den Wannenbreiten 40, 50, 60, 70, 80 und 120 mm auf Anfrage als Sonderanfertigung lieferbar. Befestigungsmaterial muss, je nach Anwendungsfall, gesondert bestellt werden. Abmessungen (ca. Maße) Wanne B x L : 100 x 200 mm Anzahl der Tragwannen : 1 Tragfähigkeit F bei B/2 : 0,5 kN Schiene H x B : 140 x 72 mm Schienenlochung : 11 x 16 mm mittiger Lochabstand : 100 mm Anzahl der Lochung : 2 Werkstoff : Stahl, tauchfeuerverzinkt nach DIN EN ISO 1461
| Merkmale: | |
| Werkstoff | Stahl |
| Rostfreier Stahl, gebeizt | nein |
| Werkstoffgüte | sonstige |
| Oberflächenschutz | feuerverzinkt |
NIEDAX GmbH & Co. KG
Asbacher Str. 141
53545 Linz/Rhein
Land: DE
E-Mail: info@niedax.de
www.niedax.de

























