NIEDAX Winkelverbinder TRV 40
Art.Nr.: 543474
Sofort lieferbar Lieferzeit: 1-3 Arbeitstage
Winkelverbinder TRV 40
Hersteller: NIEDAX
Hersteller-Art.Nr.: TRV 40
EAN: 4013339891795
Ursprung: Deutschland
Zolltarif: 73089059
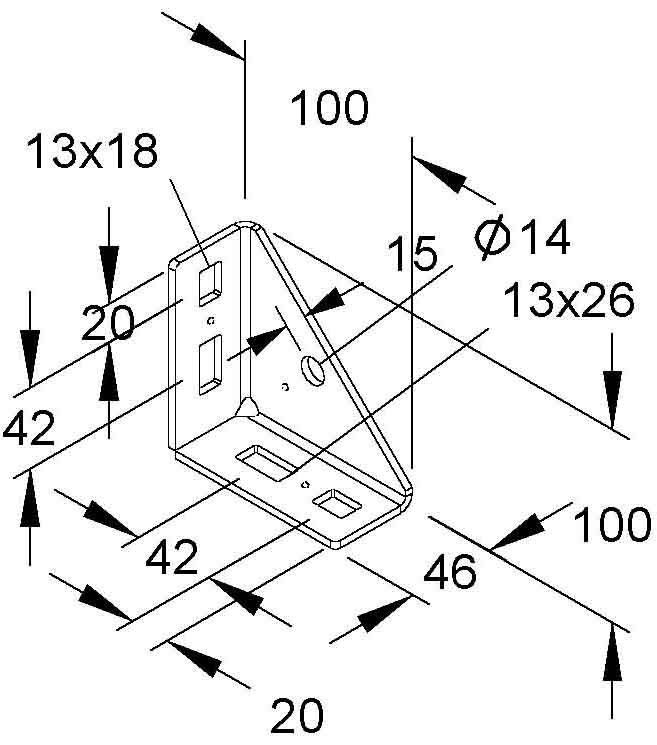
Winkelverbinder, gleichschenklig und einseitig geschlossen, zur Verbindung von vertikal zueinander stehenden T-förmig zulaufenden U-Profilen, Ankerschienen/Profilschienen oder zur Verwendung als Knotenwinkel für Abhängesysteme, Befestigungszubehör muss, je nach Anwendungsfall, gesondert bestellt werden. Verwendung für : Profil U 5050/... Profil U 6040/... Ankerschienen/Profilschienen 29.../... Abmessungen (ca. Maße) Schenkellänge : 100 x 100 mm Schenkelbreite : 46 mm Materialstärke t : 4 mm Bef. Lochung je Schenkel : 13 x 18 mm und 13 x 26 mm mittiger Abstand : 42 mm winkelhalbierende Lochung, geschl. Seite : Ø 14 mm Abstand von der offenen Kante : 15 mm Werkstoff : Stahl, tauchfeuerverzinkt nach DIN EN ISO 1461
| Merkmale: | |
| Geeignet für | U-Profil |
| Ausführung | Winkel |
| Winkel | 90 ° |
| Mit Schraubzubehör | ja |
| Werkstoff | Stahl |
| Rostfreier Stahl, gebeizt | nein |
| Werkstoffgüte | sonstige |
| Oberflächenschutz | feuerverzinkt |
| Anzahl der Löcher/Schlitze pro Seite | 5 |
| In der Schiene | nein |
| Auf der Schiene | ja |
NIEDAX GmbH & Co. KG
Asbacher Str. 141
53545 Linz/Rhein
Land: DE
E-Mail: info@niedax.de
www.niedax.de

























